Task
Boring, gjengesystem og skrusikring
Målet med denne oppgaven er å gi en innføring i boring, gjengesystem og skrusikring.

Bolt med mutter
Produksjon
- velge materialer etter tegning og spesifikasjoner
- materialet som brukes i denne øvelsen, kan være bløtt stål eller aluminium
- velge riktige maskiner og utstyr som skal brukes
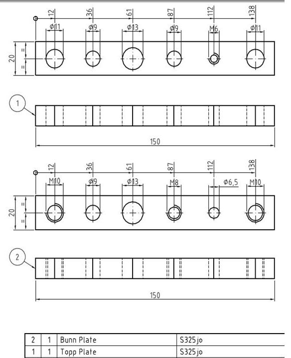
Arbeidstegning hull og gjenger
Tegning til monteringsoppgaven
Arbeidstegning skrusikring
Tegning monteringsoppgave sammenstilling
Tekniske tjenester
- velge og finne fram verktøy og utstyr som skal brukes
Dokumentasjon og kvalitet
- utarbeide detaljtegninger av øvelsen
- finne fram kvalitetsskjema som trengs for jobben
Det er viktig å bruke riktige dimensjoner ved boring for å kunne utføre gjengingen.